服務熱線
13889943666










全國服務熱線
萬濠投影儀能高效的檢測各種形狀復雜工件的輪廓形狀和幾何尺寸,如樣板、沖壓件、凸輪、螺紋、齒輪、 成形銑刀以及絲攻等各種工具、刀具和零件。
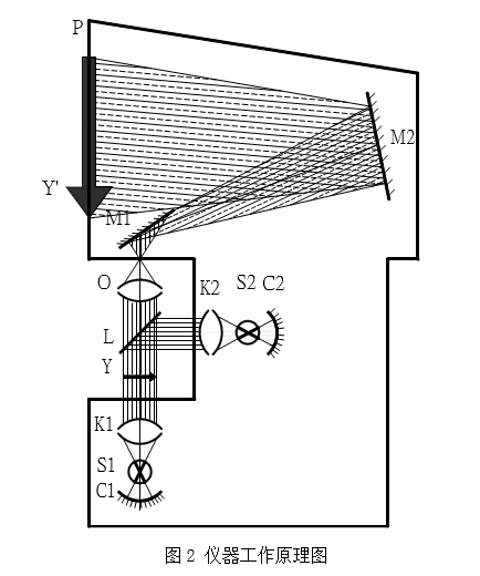
1.萬濠投影儀的工作原理
投影儀工作原理如圖2所示,被測工件Y置于工作臺上,在透射或反射照 明下,它由物鏡 O 成放大實象 Y'(倒像)并經反光鏡M1與M2反射于投影屏P的磨砂面上。當反光鏡M1換成正像系統后,Y'即成為正像,一個與工件完全同向的影像,觀察很直觀,給使用者帶來極大的方便,CPJ-30xxZ 即正像投影儀。 在投影屏上可用標準玻璃工作尺對 Y'進行測量,測得的數值除以物鏡的放 大倍數即是工件的測量尺寸;也可以用預先繪制好的標準放大圖對它進行輪廓比 較測量;還可以利用工作臺上的數字測量系統對工件 Y 進行坐標測量;也可利用投影屏旋轉或 DC3000 數顯表上的測角度功能對工件的角度進行測量。
圖中 S1 與 S2 分別為透射和反射照明光源,K1 與 K2 分別為透射和反射聚 光鏡。半反半透鏡 L 和反射照明光源 S2 僅僅在用反射照明觀察或測量工件表面 特征時才使用。如測量工件外輪廓尺寸時請一定拿掉半透半反鏡 L 并關掉反射照 明光源 S2.此時只用透射照明光源 S1 來照明,這樣才可保證測量精度.

2,萬濠投影儀的結構圖

1. 投影屏 2. 彈性壓板 3. 投影箱 4. 遮光罩 5. 尋邊器 6. 物鏡
7.工作臺 8. Y 向手輪 9.信號線轉接板 10. 高低倍透射照明與濾光片組
11. X 向光柵尺 12. X 向光柵尺 13. 電源板 14. 小門 15. 投影屏旋轉微調
手輪 16. DC3000 數顯表 17. 反射照明聚光鏡 18. 反射聚光鏡調節手柄
19. 反射照明鏡鎖緊螺帽 20. X 向手輪 21. X 向快速運動手柄
22. 操作面板(如圖 4) 23.底座 24. 搬運手柄 25. 底腳
以上是關于萬濠投影儀的工作原理和結構圖詳細介紹,如您有其它關于萬濠投影儀技術問題可以免費咨詢我公司技術人員,電話微信:13889943666.期待為您解決任何測量儀器的問題
本文鏈接:http://m.kl4444.com/jishuyingyong/626.html 轉載請注明出處
精測公眾號
精測公眾號